
53
Programming the tab of foreign currency
(
e
)
When you introduce EURO on your register, this setting for the
[
is automatically programmed by
execution of Job #800 in the X2/Z2 mode.
*: Function no.
62: For the
[
key 64: For the
“
key
63: For the
{
key 65: For the
”
key
Currency description text programming
(
e
)
You can program a maximum of 4 characters for each of the
[
through
”
keys.
*: Function no.
62: For the
[
key 64: For the
“
key
63: For the
{
key 65: For the
”
key
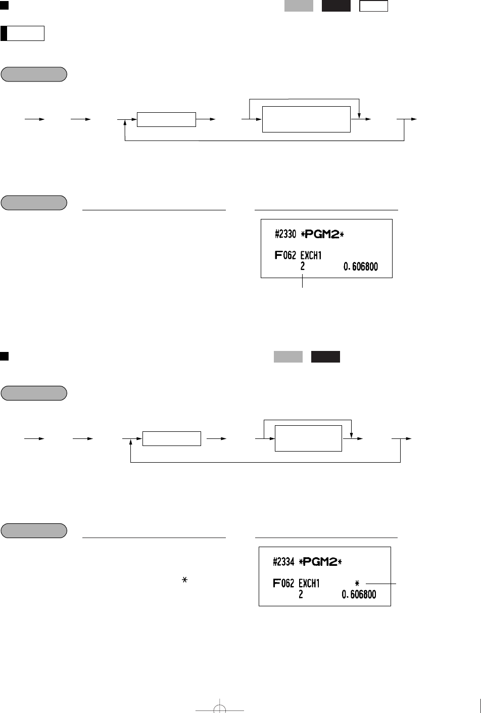
Currency
description text
2334
.≈
62
≈
/// :
;
PrintKey operation
2334
.
≈
≈
:
;
To keep the current setting
Character keys
(max. 4 digits)
*Function no.
2334
PGM 2
Number of digits
after decimal point
2330
.≈
62
≈
2
:
;
PrintKey operation
2330
.≈ ≈ : ;
Number of digits after
decimal point (0-3)
*Function no.
To program zero
Direct2330
PGM 2
FOR THE MANAGER-2-A410/A420 02.4.20 6:49 PM Page 53
Kommentare zu diesen Handbüchern