
21
3
Специальные функции
РЕЖИМ ЭКОНОМИИ ТОНЕРА
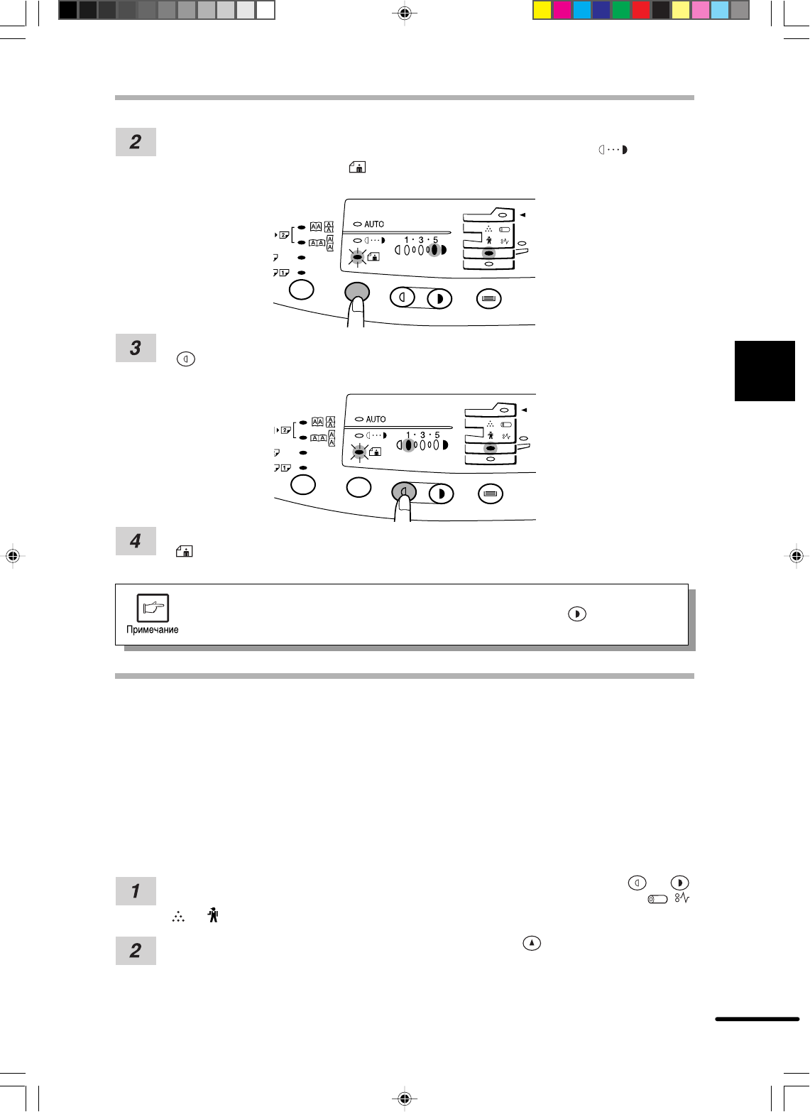
Нажмите и держите нажатой клавишу выбора режима экспозиции
приблизительно в течение 5 секунд. Индикатор ручного режима ( ) погаснет,
а индикатор фоторежима ( ) начнет мигать. Загорится индикатор экспозиции
с отметкой “5”, указывая, что активирован стандартный режим.
Для ввода режима экономии тонера нажмите клавишу регулировки экспозиции
( ).
Загорится индикатор экспозиции с отметкой “1”, указывая, что выбран режим
экономии тонера.
Дважды нажмите клавишу выбора режима экспозиции. Индикатор фоторежима
( ) перестанет мигать, и индикатор АВТО будет гореть. Режим экономии тонера
будет активирован.
Для возврата к стандартному режиму повторите вышеописанную
процедуру, но с использованием клавиши регулировки ( ) для выбора
уровня экспозиции “5” в пункте 3.
ПРОГРАММЫ ПОЛЬЗОВАТЕЛЯ
(режимы экономии энергии, время автоматического
сброса, режим поточной подачи)
Программы пользователя позволяют установить, изменить или отменить параметры
определенных функций по Вашему желанию.
Установка режимов экономии энергии, времени автоматического
сброса и режима поточной подачи
Одновременно нажмите и держите нажатыми клавиши регулировки ( ) и ( )
в течение более 5 секунд до тех пор, пока все сигнальные индикаторы ( , ,
, и ) не будут мигать, и индикация “– –” не появится на дисплее.
Используйте левую клавишу количества копий ( ) для выбора номера
пользовательской программы (1: время автоматическо
го
сброса
, 2: режим
предварительного нагрева, 3: таймер автоматического выключения питания,
4: режим поточной подачи, 5: режим автоматического выключения питания).
Выбранный номер будет мигать на левой стороне дисплея.
Kommentare zu diesen Handbüchern