Sharp XE-A41S Bedienerhandbuch Seite 41

  • Herunterladen
  • Zu meinen Handbüchern hinzufügen
  • Drucken
  • Seite
    / 131
  • Inhaltsverzeichnis
  • LESEZEICHEN
  • Bewertet. / 5. Basierend auf Kundenbewertungen
Seitenansicht 40
39
To delete a PLU/UPC code, use the following sequence:
Function selection
*: Item: Selection: Entry:
A Commission group number 0-2 (0: Non commission)(default:0)
B PLU/sub-department selection Sub-department 0
(For PLU code only) PLU* 1
When programming UPC codes, always enter 1 for B.
When you program all 7000 PLU/UPC codes, the programming sequence will be complete with a
press of the
s
key.
Based on each clerk’s sales total of each commission group and the corresponding commission rate, the
commission amounts are calculated, which is printed on clerk reports.
Commission rate
You must use a decimal point when setting a fractional rate.
s
28
@
1
@
15
sA
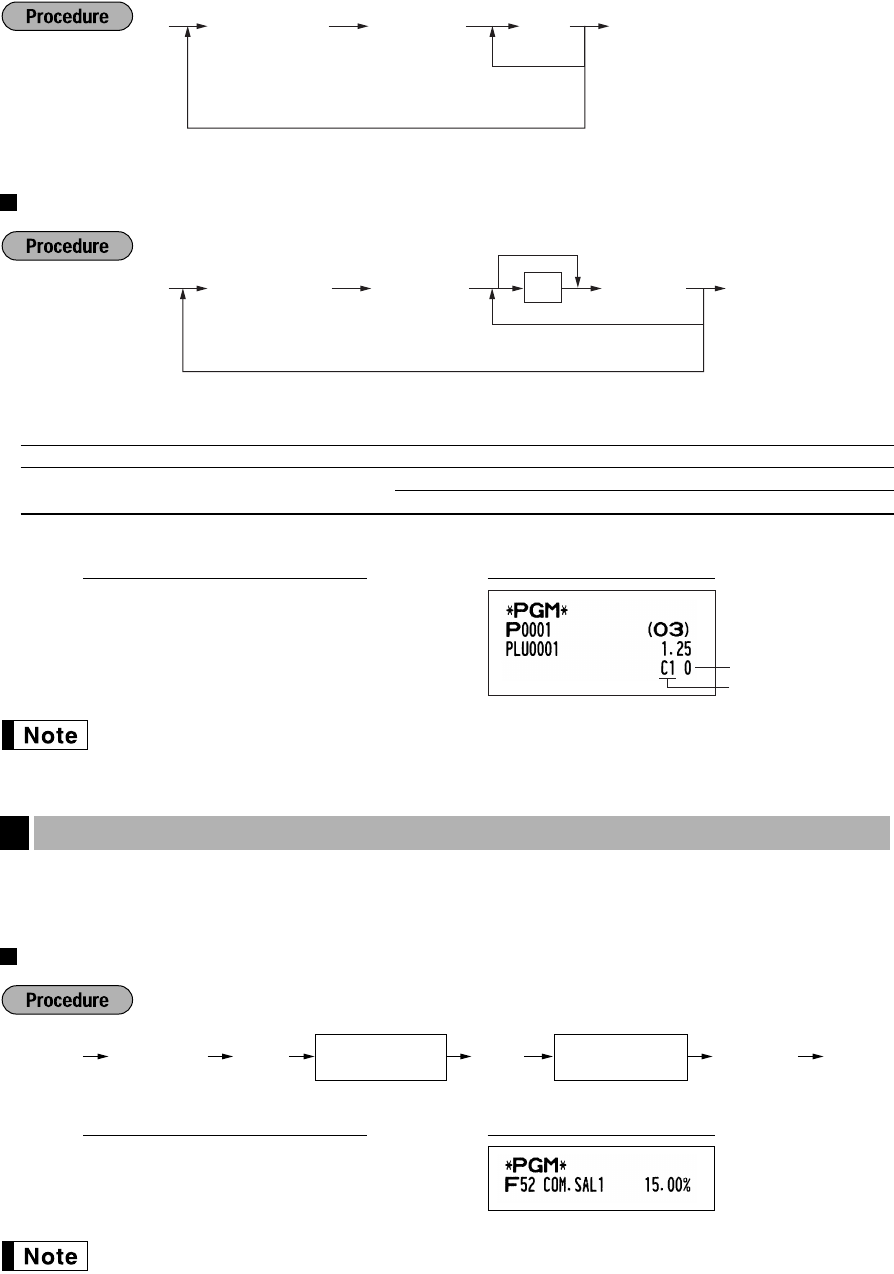
PrintKey operation example
Commission Rate Programming
3
PLU/sub-dept. selection
Commission group
number
1
p
10
sA
PrintKey operation example
p
To program “00”
As
AB
PLU/UPC code
*
To program the following PLU/UPC
To program another PLU/UPC
PLU/UPC code
p v
To delete the following
PLU/UPC
To delete another PLU/UPC
A
s
Commission
number (1 or 2)
@@28 sA
Commission rate
(0.00 - 999.99)
Seitenansicht 40
1 2 ... 36 37 38 39 40 41 42 43 44 45 46 ... 130 131

Kommentare zu diesen Handbüchern

ChrisHub 26 Apr 2024 | 05:39:38

Hello, im noob :)